Арт. Схема 2C
Узел регулирования для водного охладителя со схемой исполнения 2C
Характеристики
Kvs (пропускная способность клапана)
—
0,63 - 63 м3/ч
Диаметр узла регулирования
—
15 - 50 мм
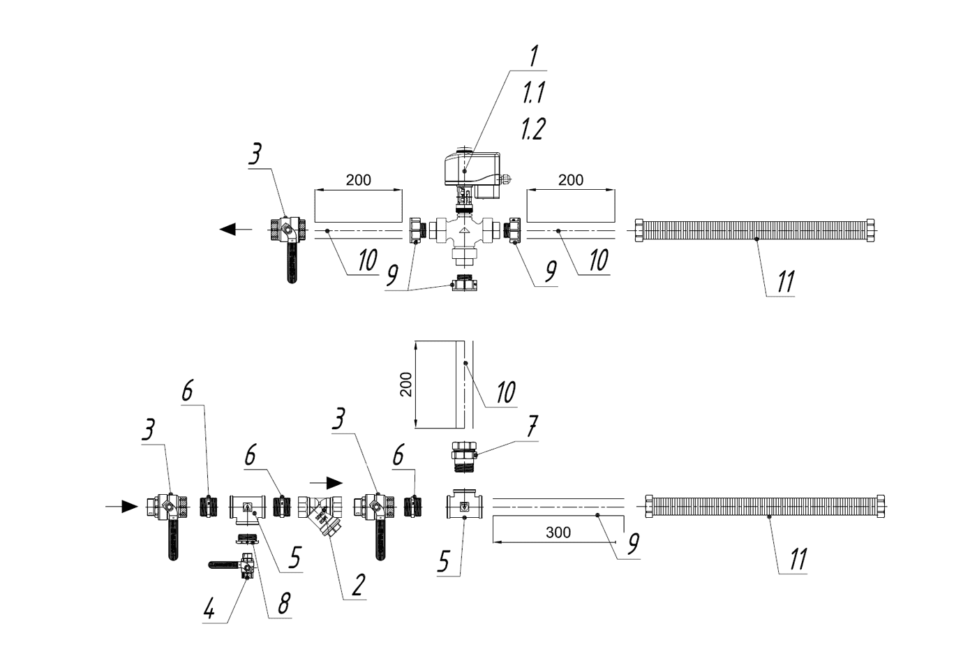
Схема исполнения 2C
- 1. Клапан регулирующий трехходовой
- 1.1. Адаптер для привода
- 1.2. Привод клапана, 24В, упр. 0-10В
- 2. Фильтр сетчатый
- 3. Шаровой кран, с ручкой рычаг
- 4. Шаровой кран, с ручкой рычаг
- 5. Тройник сталь
- 6. Ниппель
- 7. Разъемное соединение американка
- 8. Переходник латунный
- 9. Труба стальная водогазопроводная
- 10. Футорка
- 11. Гибкая подводка

